直下の“検索イン時クリック”をクリックして頂くとページ全体が表示されます。  
 

6.-4/10 JIS B 0001:2019 10  図形の表し方
10.2.2 全断面図
 全断面図の表し方は次による。
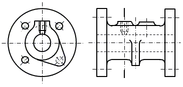
a) 通常、対象物の基本的な形状を最もよく表すように切断面を決めて描く(図36及び図37参照)。この場合には、切断線は記入しない。
 
 図36-全断面図の例1   図37-全断面図の例2

b) 必要がある場合には、特定部分の形をよく表すように切断面を決めて描く。この場合、切断線によって切断位置を示す(図38参照)。
 
 図38-切断位置を示す例

10.2.3 片側断面図
 対称形の対象物は、外形図の半分と全断面図の半分とを組み合わせて表してもよい(図39参照)。
 
 図39-片側断面図の例

10.2.4 部分断面図
 外形図において、必要とする箇所の一部だけを部分断面図として表してもよい。この場合、破断線によってその境界を示す(図40参照)。
 
 図40-部分断面図の例

10.2.5 回転図示断面図
 ハンドル、車輪などのアーム及びリム、リブ、フック、軸、構造物の部材などの切り口は、次のように90°回転して表してもよい。
a) 断面箇所の前後を切断して、その間に描く(図41参照)。
b) 切断線の延長線上に描く(図42、図52及び図54参照)。

 
 図41-破断して断面を回転図示する例

 
 図42-切断線の延長線上に断面を描く例

c) 図形内の切断箇所を重ねて、細い実践を用いて描く(図43及び図44参照)。
 
 図43-切断箇所に断面を描く例1

 
 図44-切断箇所に断面を描く例2



前へ  次へ

トップ機械製図(JIS B 0001:2019)
6.-4/10 JIS B 0001:2019 10  図形の表し方
©2000 natuo