陸  奥  国  分  寺

陸奥国分寺跡・陸奥国分寺多宝塔

陸奥国分寺跡

南門(現仁王門の位置)・中門・金堂・講堂(現薬師堂の位置)・北面僧房がほぼ中軸線上に一直線に並ぶ。
回廊(複廊)は中門から東西に金堂に取付く。寺域は東西250m南北200m強。
塔は金堂東に塔院を形成する。回廊は単廊であった。心礎をはじめ礎石が7個程度残存する。
 2008/01/18追加:
  陸奥国分寺発掘調査図:陸奥国分寺現地説明会資料
 2006/11/03追加「各地の国分寺」:
  陸奥国分寺概要図
2008/03/31撮影:
 陸奥国分寺中門跡:南より金堂跡・現薬師堂を望む、左は鐘楼。
 陸奥国分寺金堂跡
 陸奥国分寺回廊跡:東廊・複廊の礎石が置かれている。右は鐘楼。

●陸奥国分寺塔跡

塔基壇は約16m四方と判明。昭和48年塔跡は整備される。
塔跡から九輪・水煙の破片が発見されているという。承平4年(934)塔は落雷炎上した(日本記略)と記録される。

2008/03/31撮影:
陸奥国分寺心礎1
 同     心礎2
 同     心礎3
 同     心礎4
 同    塔礎石1
 同    塔礎石2:左図拡大図
 同    脇柱礎
 同    塔基壇1
 同    塔基壇2
○「N」氏ご提供、昭和45年(1970)頃撮影。
 陸奥国分寺心礎

○国立歴史民俗博物館蔵
 陸奥国分寺復元模型
 陸奥国分寺七重塔模型

○「幻の塔を求めて西東」 より
心礎は一重円孔式、214×196×75cm、径60×21.2cmの円孔を持つ。

2006/11/03追加
○「各地の国分寺」 より
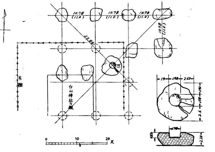
塔は金堂の真東83mにある。塔基壇は方55尺(16.7m)、高さ4尺(1.23m)、土壇上には白山神社がある、本殿北に礎石7個が残存。
心礎は安山岩製、大きさは2.15×2.1×0.72m(見える高さ)、中央に径65×27cmの円穴を彫る。塔1辺は33尺(10m)。
※近年まで塔礎石上に白山権現社があったが、現在では塔跡北方に移建されている。

2009/09/14追加:
○「国分寺址之研究」堀井三友、堀井三友遺著刊行委員会編、昭和31年 より
心礎は6尺5寸×6尺5寸、見える高さ2尺2寸、中央に径1尺9寸8分、深さ8寸3分の円孔を穿つ。
 陸奥国分寺址平面図     陸奥国分寺塔址・心礎実測図     陸奥国分寺塔址礎石

●現存国分寺

2008/03/31撮影:
陸奥国分寺跡に伊達政宗の再建になる現国分寺(薬師堂・仁王門・鐘楼・白山権現社)が存在する。
なお陸奥国分寺跡西方に国分寺本坊がある。

薬師堂(重文):慶長12年(1607)完成、伊達政宗が和泉の駿河宗次等を招き再建したと云う。
5間×5間、屋根入母屋造本瓦葺、1間向拝付、廻縁を付設。和様の意匠で唐様の木鼻を用いる。本尊薬師如来・十二神将などを安置す。
現薬師堂は古の陸奥国分寺講堂跡にある。
※薬師堂にて行われる七日堂・修正会では、蘇民将来符が配布される。
 陸奥国分寺薬師堂1     同        2     同        3
仁王門:薬師堂と同時代の建築と推定される。陸奥国分寺南大門跡に建つ。
 陸奥国分寺仁王門
白山権現社:1間社流造、寛永17年(1640)再建。
 陸奥国分寺白山権現

陸奥国分寺多宝塔

○多宝塔概要:
昭和57年完成。RC製。 高さ21m。コンクリート製ながら精巧には造られていると思われる。
上層屋根の四隅に置かれているのは小型相輪であろう。
本尊金剛界大日如来、2−3階には仏舎利と信徒の位牌を安置すると云う。

●「X」氏ご提供画像:
 陸奥国分寺多宝塔1        同        2
●「N」氏1987年撮影画像
 陸奥国分寺多宝塔
●2008/03/31撮影
 陸奥国分寺多宝塔11:陸奥国分寺本坊
   同        12        同        13        同        14        同        15
   同        16        同        17        同        18        同        19


2008/04/09作成:2022/09/05更新:ホームページ日本の塔婆